Apple, aldığı yeni patentti iPhone 8'de kullanabilir. Peki, iPhone 8 modelinde yer alacak bu özellik ne işe yarayacak?
iPhone 7 yeni tanıtıldı ama şimdiden iPhone 8 sızıntıları gelmeye başladı. Son söylentiler arasında telefonun kenardan kenara kavisli OLED ekran ile geleceği yer alıyordu. Apple’ın aldığı yeni bir patent, telefonun ana ekran tuşu hakkında bilgiler veriyor.
APPLE'IN ALDIĞI PATENT, İPHONE 8'İN YENİ ÖZELLİĞİNİ GÖSTERİYOR
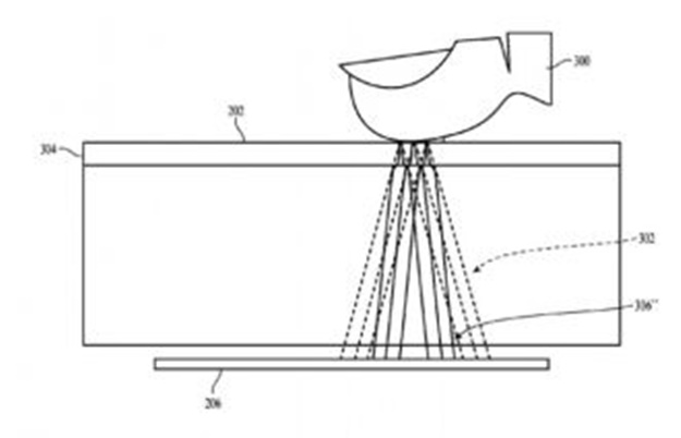
USTPO tarafından yakın zamanda yayınlanan bir patent, Apple’ın gelecek Home tuşunu nasıl inşaa edeceğini gösteriyor. Şirket zaten iPhone 7 ve iPhone 7 Plus üzerinde Home tuşunda Taptic Engine teknolojisini kullanarak dokunsal özellik sunmuştu.
Patente göre Home tuşu ekran altında gömülü olacak gibi görünüyor. Elektrostatik lensler ve diğer hassas elementlerin sayesinde, kayıt yapmak mümkün olacak ve parmak izi tarayıcı daha hızlı ve doğru çalışacak.
Cupertino’lu şirket önümüzdeki yıl 10. yaşını kutlayacak ve önceden gelen bilgiler bu yıla özel iPhone üretileceği yönündeydi. Bu yüzden patentini aldığı bu özelliği iPhone 8 modelinde sunması olası görünüyor.
(Teknolojioku)
