Apple'ın gelecek iPhone'unda Lightnin kablosu için giriş bulunmayacağı zaten konuşuluyor. Peki ama böyle bir durumda iPhone'u nasıl şarj edeceğiz ya da bilgisayara nasıl bağlayacağız? Cevap, Apple'ın aldığı bu yeni patentte gizli olabilir...
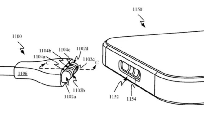
Yeni bir patentte görüldüğünde göre Apple, var olan MagSafe şarj aletini temel alan bir bağlantı girişi geliştiriyor. ABD Patent ve Marka Ofisi'ne yapılan bir başvuruda, eski MacBook'ları şarj etmek için kullanılan üç iğneli MagSafe şarj aletine benzeyen bir parçanın iPhone'a benzeyen bir cihaza bağlandığı görülüyor.
Apple MagSafe nedir; ne işe yarıyor?
Patent, biri yuvarlak ve biri düz yüzeye sahip olan birkaç farklı iğne tasarımı gösteriyor ve buradan da Cupertinolu teknoloji devinin, ilk olarak 2012 yılında sunulan 8 iğneli bağlantı parçaları Lightning kablolarını kullanmadığı bir geleceği öngördüğü tahmin edilebilir.
Apple'ın dikkatini mıknatıs temelli şarj girişlerine çevirmesi için pek çok farklı sebep bulunuyor. MagSafe teknolojisinin iyileştirilmiş şarj hızlarının yanı sıra, MagSafe bağlantı girişinin kullanımı şarj aletinin çekilmesi veya birinin bu kabloya takılması durumunda kolay bir şekilde ayrılarak cihazın veya kablonun hasar görmesini engelleyebilir.
Ayrıca MagSafe girişinin sunulması, Apple'ın gelecekteki iPhone'larında girişlerin ortadan kaldırılmasına doğru atılan bir adımı daha temsil edecektir.
Her ne kadar endüstrinin geneli USB-C bağlantılarına yönelse de, Apple'ın bu akıma kapılmak istemediği söylenebilir. Güvenilir Apple analisti Ming-Chi Kuo tarafından kısa bir süre önce yapılan yorumlara göre firma, kendi Lightning ve MagSafe bağlantılarının hem özellik hem de su geçirmezlik konularında şimdiden USB-C'den daha iyi olduğunu düşünüyor. Bu yüzden de Apple'ın Lightning bağlantılarından vazgeçerken USB-C'yi kullanarak geri bir adım atmak yerine kendi girişsiz MagSafe tasarımına yönelmesi daha mantıklı olacaktır.
Tabii ki bu en son patentte görülen mıknatıs temelli bağlantı tasarımlarının iPhone'ları bağlantı girişlerinden tamamen kurtarmayacağını da belirtmekte fayda var. Cihazın alt kısmında halen ufak bir girinti bulunacaktır ancak bu durumun, Apple'ın akıllı telefonlarında geçtiğimiz on yılın büyük bir kısmında kullandığı girişlerden bariz bir şekilde daha iyi olacağı söylenebilir.
Kaynak: Chip
