• İSTANBUL
  • İMSAK
    00:00
    GÜNEŞ
    00:00
    ÖĞLE
    00:00
    İKİNDİ
    00:00
    AKŞAM
    00:00
    YATSI
    00:00
  • 0.0
  • 0.0
  • 0.0

AirPodslara elveda! Apple kemikten ses iletimi yapabilen bir kablosuz kulaklık üzerinde çalışıyor

Yeniakit Publisher
2020-07-29 18:05:00 -
AirPodslara elveda! Apple kemikten ses iletimi yapabilen bir kablosuz kulaklık üzerinde çalışıyor

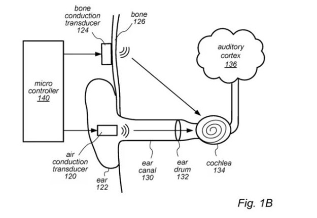
Apple, kemik üzerinde ses iletimi yapabilen kablosuz kulaklık üzeride çalıştığını duyurdu. Apple'ın kemik üzerinden ses iletimi yapan kablosuz kulaklığının özellikleri neler? İşte detaylar...

ABD'nin Global teknoloji şirketi Apple, yeni bir kablosuz kulaklık patenti aldı. Aldığı patente göre Apple, kablosuz kulaklıklarda yeni bir çağ başlatacakmış gibi gözüküyor. Kemik üzerinden ses iletimi yapması planlanan kulaklık, hem ergonomik hemde modern çizgilere sahip olacak . Kemik üzerinden ses iletimi projesi birçok kez gündem gelmişti ama üzerinde henüz bu denli bir çalışma yapılmamıştı. Apple'ın üzerinde çalıştığı kablosuz kulaklık eğer bir ürün haline gelirse kullanıcılar, ortam sesini duyarken müzik dinleme imkanı yakalayacaklar. Ayrıca bu tür kulaklıklar sayesinde su altında bile kesintisiz müzik dinlemek mümkün olabilir. ABD merkezli teknoloji devinin, eylül ayı içerisinde bir etkinlik düzenlemesi ve bu etkinlik kapsamında da iPhone 12 serisini tanıtması bekleniyor. Deneyimli bir Apple analisti olan Ming-Chi Kuo, bu etkinlik kapsamında yeni bir AirPods'un duyurulmayacağını, kullanıcıların 2021 yılının başına kadar beklemeleri gerektiğini ifade ediyor. Eğer bu açıklamalar gerçeği yansıtıyorsa Apple, 2021 yılında kemikten ses iletebilen bir kablosuz kulaklıkla karşımıza çıkabilir.

Apple'ın aldığı kablosuz kemik üzerinden ses iletimi yapabilen kulaklık patenti

Haberle ilgili yorum yapmak için tıklayın.
x

WhatsApp İhbar Hattı

+90 (553) 313 94 23