Yeni ortaya çıkan bir Google patenti, Google Glass'ın yeni sürümünden ipucu veriyor!
Google Glass, mobil bilgisayarları giyilebilir hale getirdiği için oldukça önemli bir adımdı. Ancak çoğu teknolojinin ilk neslinde olduğu gibi Google Glass da pek şık ve ince görünmüyor.
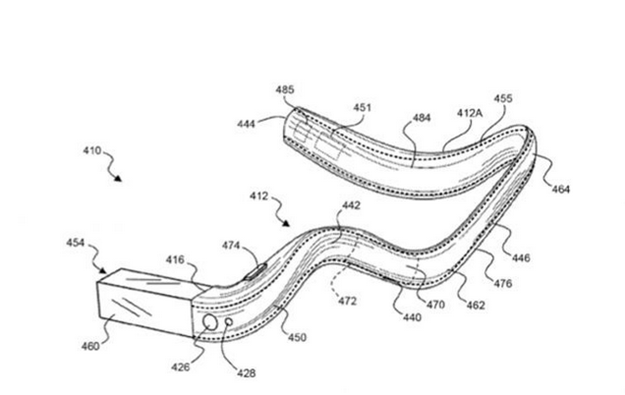
Google'ın 2012'de yaptığı, henüz yayınlanan bir patent başvurusu ise bildiğimiz Google Glass'ın yanında gözlüğü daha çok andıran bir çizim içeriyor. Patent buna ilave olarak bir de aşağıda gördüğünüz, tek kulağa takılan bir cihaza yer veriyor.
Patente göre cihazın kolu, şakağınıza ve kulağınızın üzerine oturacak şekilde ayarlanabiliyor. Kol içerisinde elektronik bileşenler, önde ise tanıdık gelen ekran yer alıyor. Patent bundan sonra kamera, touchpad ve fazlasıyla ilgili detaylara giriyor.
Patentteki çizimde yer alan bu cihazın bir sonraki nesil Google Glass olma ihtimali var.
Bugüne kadarki söylentiler, Google Glass 2'nin standart gözlüklere takılabilen bir aksesuar olarak karşımıza çıkabileceğini söylüyordu. Umarız Google bu kez daha iyi bir tasarımla karşımıza çıkar.

