Bayraktar'ı çekemeyenlere kötü haber! ASELSAN'dan yeni İHA!
Türk savunma sanayinin önde gelen şirketlerinden ASELSAN, yaptığı yeni nesil İnsansız Hava Aracı için patent aldı.
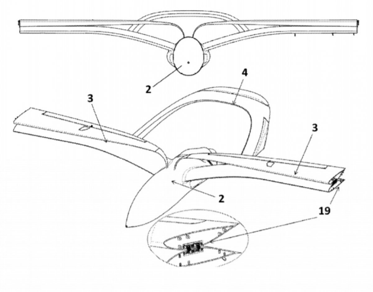
ASELSAN, tasarımını yaptığı yeni nesil İnsansız Hava Aracı (İHA) için çalışmalara başladı.
Tescili gerçekleştirilen tasarımda, dört adet motor dikey kalkışı sağlarken havada uçuş için arkadaki motordan yararlanılacak.
Çok yönlü kalkış
Kanat altına yerleştirilen podlar sayesinde hem dikey iniş kalkış hem de dikine veya kısa pistlerden iniş kalkış özellikleri kazanan İHA, aynı zamanda konvansiyonel iniş kalkış yöntemini kullanabiliyor.
Geleneksel içten yanmalı tahrik sisteminin yanı sıra elektrik tahrik sistemi ile teçhiz edilebiliyor.
Katlanabilir pervaneler
Kanat altındaki rotorlar ise istenildiği taktirde katlanabiliyor. Sistemin bataryalı konfigürasyonunun, sessiz uçuş avantajı bulunuyor. Pervaneler de katlanabilir olarak tasarlanıyor.
ASELSAN tarafından tasarlanan bu sistemin, özellikle deniz platformları için geliştirildiği belirtiliyor.

