ASELSAN patentini aldı! Türkiye'den çok konuşulacak yeni İHA tasarımı
ASELSAN; dikey, kısa ve konvansiyonel iniş / kalkış metotlarını tek bir platform üzerinde birleştirdiği "Çok Fonksiyonlu İHA" tasarımının patentini aldı.
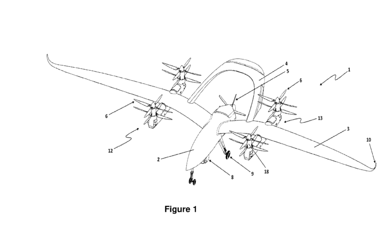
Çeşitli iniş ve kalkış yeteneklerine sahip olan "Çok Fonksiyonlu İnsansız Hava Aracı"nın patenti, ASELSAN tarafından 21 Ocak 2021 tarihinde alındı. Söz konusu İHA’nın kanat altında bulunan podlar, İHA’ya VTOL ve VSTOL yeteneklerini kazandırıyor.
Dikey iniş-kalkış yapabilen İHA
ASELSAN tarafından tasarlanan "Çok Fonksiyonlu İnsansız Hava Aracı", hem döner kanatlı hava araçları gibi rotorlara hem de Türkiye’de de kullanılan bazı sabit kanatlı insansız hava araçları gibi kıç tarafta bir motora sahip. Edinilen bilgiye göre; İHA’nın kanatlarının altında bulunan 4×2 "coaxial counter rotating" mimarisindeki rotor podları, araca dikey iniş ve kalkış yeteneği kazandırıyor. İHA’nın kalkış yaptıktan sonra ihtiyaç duyduğu güç ise kıç tarafındaki motordan sağlanıyor. Kanat altındaki söz konusu podlar, istenildiği taktirde çıkartılabiliyor.
ASELSAN tarafından tasarlanan insansız hava aracı; dikey veya kısa pistlerden iniş / kalkış (VSTOL), konvansiyonel iniş / kalkış (CTOL) ve dikey iniş / kalkış (VTOL) yeteneklerine sahip. İHA hem geleneksel içten yanmalı tahrik sistemi hem de elektrik tahrik sistemi ile teçhiz edilebiliyor. Kanat altındaki rotorlar ise istenildiği taktirde katlanabiliyor. Sistemin bataryalı konfigürasyonunun, sessiz uçuş avantajı bulunmakta.
ASELSAN tarafından tasarlanan bu sistemin, özellikle deniz platformları için geliştirildiği tahmin edilmekte. Türkiye’de Baykar Savunma, halihazırda TCG ANADOLU Amfibi Hücum Gemisi için kısa pistlerden kalkış / iniş yeteneğine sahip Bayraktar TB3 İHA’nın geliştirme çalışmalarına devam ediyor. Ayrıca Baykar Savunma’nın, Dikey İniş Kalkışlı İnsansız Hava Aracı (DİHA) adında da bir projesi mevcut.
SavunmaSanayiST
