• İSTANBUL
  • İMSAK
    00:00
    GÜNEŞ
    00:00
    ÖĞLE
    00:00
    İKİNDİ
    00:00
    AKŞAM
    00:00
    YATSI
    00:00
  • 0.0
  • 0.0
  • 0.0
11
Yeniakit Publisher
Yeni iPhone işte böyle olacak
2016-11-01 23:13:59

Yeni iPhone işte böyle olacak

Son iPhone modeli iPhone 7 ve 7 Plus'ı geçtiğimiz aylarda tanıtan Apple'ın yeni modeli ile ilgili iddialar şimdiden gelmeye başladı.

#1
Foto - Yeni iPhone işte böyle olacak

Apple'ın henüz tanıtmadığı ürünler ile ilgili başarılı tahminleri ile dikkat çeken Nikkei Asian Review'da yer alan habere göre, Apple yeni iPhone modelinde kablosuz şarj teknolojisine geçiş yapacak.

#2
Foto - Yeni iPhone işte böyle olacak

Aynı habere göre, Apple'ın akıllı cihazlarını üreten Foxconn, kablosuz şarj teknolojisi için testlere başladı.

#3
Foto - Yeni iPhone işte böyle olacak

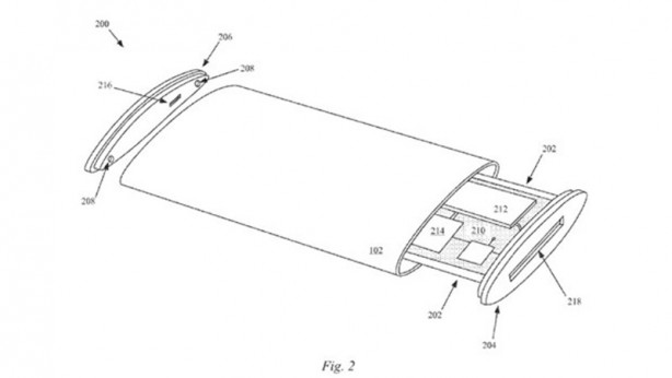
Yeni modelde cam tasarım ve OLED ekran kullanılacağı ve ekranın Samsung modelleri ile hayatımıza giren kavisli ekran oalcağı da dile getirilen iddialar arasında.

#4
Foto - Yeni iPhone işte böyle olacak

Apple'ın önümüzdeki yıl iPhone'un 10'uncu yılını kutlayacak olması da beklentileri artırıyor.

#5
Foto - Yeni iPhone işte böyle olacak

Bu kapsamda gelen iddialar da bir o kadar iddialı.

#6
Foto - Yeni iPhone işte böyle olacak

En dikkat çeken iddia Apple'ın yıldönümüne özel iPhone serisindeki rakamlara son verecek olması.

#7
Foto - Yeni iPhone işte böyle olacak

Başka bir deyişle iPhone 7 ile bir devir kapamıyor. Yani iPhone 8 yerine iPhone Pro geliyor.

#8
Foto - Yeni iPhone işte böyle olacak

Şirkete yakın kaynaklara dayandırılan iddialara göre, Apple, iPhone Pro adını alması beklenen yeni telefonunu biraz daha inceltecek.

#9
Foto - Yeni iPhone işte böyle olacak

Teknoloji meraklılarını heyecanlandıran başka bir iddiya göre, bu model tamamen dokunmatik ekrandan oluşacak.

#10
Foto - Yeni iPhone işte böyle olacak

Apple her zamanki gibi lansman tarihine kadar konuyla ilgili herhangi bir resmi açıklama yapmaya yanaşmıyor. (NTV)

x

WhatsApp İhbar Hattı

+90 (553) 313 94 23