• İSTANBUL
  • İMSAK
    00:00
    GÜNEŞ
    00:00
    ÖĞLE
    00:00
    İKİNDİ
    00:00
    AKŞAM
    00:00
    YATSI
    00:00
  • 0.0
  • 0.0
  • 0.0
8
Yeniakit Publisher
Macbook'lar artık böyle olacak

2016-04-08 21:23:01
Macbook'lar artık böyle olacak

Teknoloji devi Apple, dizüstü bilgisayar serisi Macbook için geliştirdiği tuşları olmayan dokunmatik klavyenin patentini aldı.

#1
Foto - Macbook'lar artık böyle olacak

NTV'de yer alan habere göre, Apple geçtiğimiz eylül ayında aldığı patenti dün kamuoyuyla paylaştı.

#2
Foto - Macbook'lar artık böyle olacak

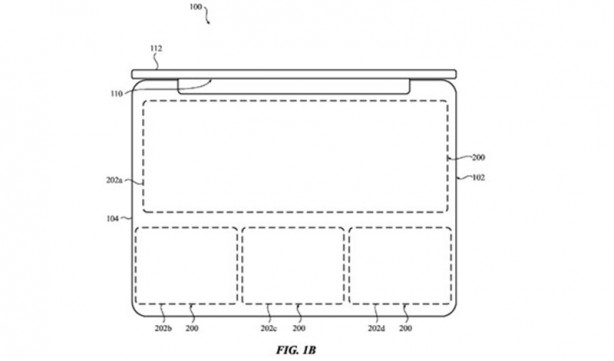
Buna göre, dizüstü bilgisayarlarda fare görevi gören ‘touchpad’ genişletilerek tuşlu klavyenin yerini alacak.

#3
Foto - Macbook'lar artık böyle olacak

Tuşsuz klavye düz yüzeyi sayesinde daha az kir tutacak ve temizlenmesi daha kolay olacak. Aynı zamanda, geleneksel klavyelerin tuşlarında meydana gelen arızalanmalar tarihe karışmış olacak.

#4
Foto - Macbook'lar artık böyle olacak

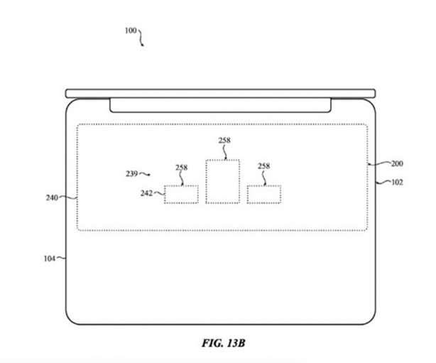
Dokunmatik klavyenin en büyük yeniliklerinden bir tanesi ise, kişisel yapılandırmaya uygun olarak tasarlanmış olması. Boyutları küçültmek adına Macbook da dahil çoğu dizüstü bilgisayar modelinde kaldırılan sayısal tuş takımı (numeric keypad), tuşsuz klavyenin istenilen bölmesine eklenebilecek.

#5
Foto - Macbook'lar artık böyle olacak

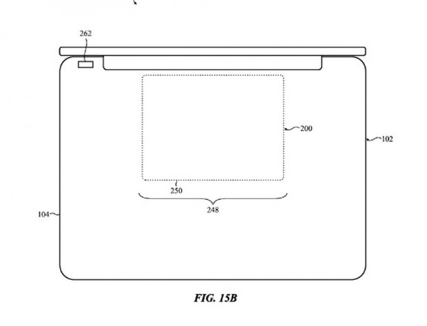
Dokunmaya duyarlı donanımı sayesinde kullanıcının isteklerini algılayabilecek yeni klavyede hangi tuşun nerede olduğunu anlamamızı ise, klavyenin yüzeyindeki aydınlatılmış küçük delikler sağlayacak.

#6
Foto - Macbook'lar artık böyle olacak

Patentin ürün haline gelip gelmeyeceği şimdilik tartışmaya açık, ancak geliştirilmeye başlansa bile söz konusu donanıma sahip ürünlerin kullanıcıya ulaşması yıllar alacak.

#7
Foto - Macbook'lar artık böyle olacak

x

WhatsApp İhbar Hattı

+90 (553) 313 94 23