• İSTANBUL
  • İMSAK
    00:00
    GÜNEŞ
    00:00
    ÖĞLE
    00:00
    İKİNDİ
    00:00
    AKŞAM
    00:00
    YATSI
    00:00
  • 0.0
  • 0.0
  • 0.0
12
Yeniakit Publisher
Apple bir ilki gerçekleştirecek! Patenti aldı
2023-07-18 23:54:08

Apple bir ilki gerçekleştirecek! Patenti aldı

ABD'li teknoloji firması Apple, türünün ilk örneği olacak 'yuvarlanabilir' bir iPhone geliştirmek için patent aldı.

#1
Foto - Apple bir ilki gerçekleştirecek! Patenti aldı

ABD'li Apple'ın patent belgelerinde bir eksen etrafında bükülen ince ve esnek bir ekrana sahip, rulo şeklindeki iPhone tasarımı tüm ayrıntıları ile görüldü. Apple’ın tasarımda, ekranı çizilmelere ve diğer hasarlara karşı korumak için, ekranın üzerinde koruyucu bir cam tabakasının yanı sıra leke, buğu ve yansıma önleyici ile anti-statik katmanlar gibi yapılar yer aldı.

#2
Foto - Apple bir ilki gerçekleştirecek! Patenti aldı

Apple, iPhone 15'i Eylül ayında piyasaya sürecek olsa da, şirket yuvarlanabilir bir akıllı telefon çıkarmaya karar verirse, bu en az 2024 yılına kadar olmayacak.

#3
Foto - Apple bir ilki gerçekleştirecek! Patenti aldı

Diğer taraftan, Apple'ın geçmişte hiçbir zaman gerçek dünyada kullanılamayacak çok sayıda patent başvurusunda bulunduğu biliniyor.

#4
Foto - Apple bir ilki gerçekleştirecek! Patenti aldı

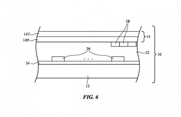
Bununla birlikte patent başvurusnda yer alan çizimlerde, yuvarlanabilir ekranın dijital görüntülerin biçimini ve rengini tanımlayan bir piksel dizisine sahip olduğunu açıklanıyor.

#5
Foto - Apple bir ilki gerçekleştirecek! Patenti aldı

iPhone yuvarlandığında, ekran bir eksen etrafında bir silindir üzerine bükülüyor ve Apple, yuvarlama ve açma işlemi sırasında korumak için cihazın iç kısmına birden fazla katman eklemeyi öneriyor.

#6
Foto - Apple bir ilki gerçekleştirecek! Patenti aldı

Patente göre, telefonun iç kısmındaki kaplamalar uçak bileşenleri, spor malzemeleri ve yapıştırıcılar gibi çeşitli uygulamalarda kullanılan çok yönlü bir plastik malzeme olan poliimidden oluşacak.

#7
Foto - Apple bir ilki gerçekleştirecek! Patenti aldı

En ince olan dış katman ise plastik torbalarda, giysilerde ve teflon kaplı pişirme kaplarında yaygın olarak bulunan bir polimerden yapılacak.

#8
Foto - Apple bir ilki gerçekleştirecek! Patenti aldı

Belgede ayrıc,a bu katmanlı yapıların derin çiziklerin cam tabakanın dış yüzeyine nüfuz etmesini önlemeye yardımcı olduğu belirtiliyor.

#9
Foto - Apple bir ilki gerçekleştirecek! Patenti aldı

Daha sert polimer katman, yüzeyi çizilmeye karşı koruyor ve böylece ekrandaki görünür değişiklikleri veya bulanıklığı en aza indiriyor.

#10
Foto - Apple bir ilki gerçekleştirecek! Patenti aldı

Öte yandan, patentler bir ürünün fiilen piyasaya sürülmesini garanti etmese de, bir şirketin araştırma ve geliştirme çabaları hakkında değerli bilgiler sağlyor.

#11
Foto - Apple bir ilki gerçekleştirecek! Patenti aldı

Apple'ın yuvarlanabilir akıllı telefon teknolojisini keşfetmesi, şirketin sınırları zorlama ve potansiyel olarak mobil cihazların geleceğini şekillendirme konusundaki kararlılığını gösteriyor.

x

WhatsApp İhbar Hattı

+90 (553) 313 94 23