• İSTANBUL
  • İMSAK
    00:00
    GÜNEŞ
    00:00
    ÖĞLE
    00:00
    İKİNDİ
    00:00
    AKŞAM
    00:00
    YATSI
    00:00
  • 0.0
  • 0.0
  • 0.0
4
Yeniakit Publisher
Google'dan 'uçan araba'ya dev yatırım
2016-06-10 20:47:52

Google'dan 'uçan araba'ya dev yatırım

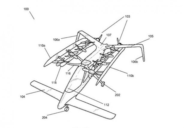
Google'ın kurucularından Larry Page, uçan araba geliştiren iki şirkete hatırı sayılır bir yatırım yaptı.

#1
Foto - Google'dan 'uçan araba'ya dev yatırım

Bloomberg Businessweek'in şirkete yakın kaynaklara dayandırdığı haberine göre, milyarder işadamı 2 şirkete 100 milyon dolar (290 milyon TL) yatırım yaptı.

#2
Foto - Google'dan 'uçan araba'ya dev yatırım

ABD, Kaliforniya merkezli Zee.Aero ve Kitty Hawk isimli iki şirket de elektrikli motora sahip, dikey iniş, kalkış yapabilecek araçlar üzerine çalışmalar yapıyor.

#3
Foto - Google'dan 'uçan araba'ya dev yatırım

Konuyla ilgili henüz bir resmi açıklama bulunmuyor. Milyarder işadamının bu yatırımın ardından şirketlerdeki ortaklık düzeyine dair bir bilgi de bulunmuyor. (NTV)

x

WhatsApp İhbar Hattı

+90 (553) 313 94 23