2016-05-26 12:33:28 Airbus son bombasını patlattı!
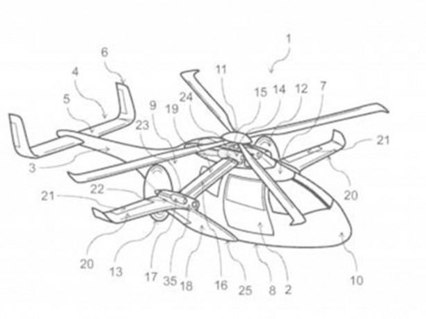
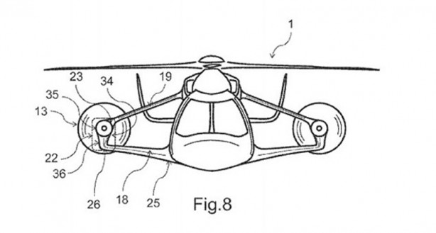
Hem helikopter hem de uçak gibi görev yapabilecek bir araç üretmek için kolları sıvıyan Airbus, hypercopter'in patentini aldı.
Hem helikopter hem de uçak gibi görev yapabilecek bir araç üretmek için kolları sıvıyan Airbus, hypercopter'in patentini aldı.
Dışarıdan bakıldığında konvansiyonel helikopterlere benzeyen araç aynı zamanda 2 adet jet motoruna da sahip.
Her biri 2 bin 270 beygir gücünde 2 adet Rolls Royce Turbomeca RTM322 motoruna sahip olan araç saatte 471 kilometre hıza çıkabilecek.
Helikopter gibi kalkabilen ve aynı helikopterlerde olduğu gibi dikey iniş yapabilecek olan hypercopter, pilotun isteğine bağlı olarak uçak gibi de kullanılabilecek.
Airbus'un Eurocopter X3 modelinin bir sonraki versiyonu olaması beklenen hypercopter'e ait görseller, şirketin patent başvurusu yapması ile gün yüzüne çıktı.
WhatsApp İhbar Hattı
+90 (553) 313 94 23